Honda HR-V: Transmission Fluid Pump Removal and Installation (CVT)
Removal
NOTE: Keep all foreign particles out of the transmission.
1. Vehicle - Lift
2. Engine Undercover - Remove (With 2WD)
3. Left Front Splash Shield - Remove
4. Engine - Warm Up
- Start the engine, and warm it up to normal operating temperature (the
radiator fan comes on twice).
- Turn the engine off.
5. Transmission Fluid - Drain
.png)
- Remove the drain plug (A) with the sealing washer (B), and drain the
transmission fluid for at least 5 minutes.
NOTE:
- Remove metal particles from the magnetic surface of the drain plug.
- Be careful not to burn yourself by the hot part.
- Reinstall the drain plug with a new sealing washer.
6. Transmission Fluid Pan - Remove
NOTE: The actual transmission fluid (HCF-2) capacity will vary from the
specified capacity based on
the length of time the transmission fluid pan is off the transmission. Avoid
leaving the transmission fluid
pan off for extend periods of time.
7. Transmission Fluid Strainer - Remove
.png)
- Remove the transmission fluid strainer (A) with the
O-ring (B).
.png)
- Clean the inlet opening (A) of the transmission fluid strainer (B)
thoroughly with compressed air.
- Check that it is in good condition and that the inlet opening is not
clogged.
- Test the strainer by pouring clean transmission fluid through the inlet
opening, and replace it if it is clogged or damaged.
8. Valve Body Assembly - Remove
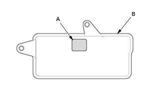
9. Transmission Fluid Pump - Remove
.png)
- Remove the transmission fluid pump (A) with the dowel
pins (B).
Installation
NOTE:
- Keep all foreign particles out of the transmission.
- Apply a light coat of clean transmission fluid on all O-rings before
installation.
1. Transmission Fluid Pump - Install
.png)
Fig. 32: Transmission Fluid Pump With Torque Specifications
- Install the transmission fluid pump (A) with the dowel pins (B).
2. Valve Body Assembly - Install
3. Transmission Fluid Strainer - Install
.png)
- Install the transmission fluid strainer (A) with a new O-ring (B).
NOTE:Be careful not to damage the solenoid wire harness and the
O-ring
while installing the transmission fluid strainer.
4. Transmission Fluid Pan - Install
5. Transmission Fluid - Refill
6. Transmission Fluid Level - Check
7. Left Front Splash Shield - Install
8. Engine Undercover - Install (With 2WD)
READ NEXT:
Special Tools Required
Attachment, 22 x 24 mm
07746-001A800
Driver Handle, 15 x 135L 07749-0010000
Replacement
NOTE: Apply a light coat of clean transmission fluid on all parts before
installation.
Special Tools Required
Driver Handle, 40 mm I.D. 07746-0030100
Bearing Driver Attachment, 30 mm I.D.
07746-0030300
Snap Ring Pliers 07LGC-0010100
Removal
1. Secondary Drive Gear - Remove
Remove
Special Tools Required
Snap Ring Pliers 07LGC-0010100
Bearing Driver Attachment, 52 x 55 mm
07746-0010400
Driver Handle, 15 x 135L 07749-0010000
Replacement
NOTE: Apply a light coat of clean transm
SEE MORE:
AFTER WARMING UP, IDLE SPEED IS ABOVE SPECIFICATIONS WITHOUT LOAD (MIL
WORKS OK, NO DTCS SET) (KA/KC)
Diagnostic procedure
1. APP Sensor Signal Inspection
Also check for
Intake air leaks
AFTER WARMING UP, IDLE SPEED IS BELOW SPECIFICATIONS WITHOUT LOAD (MIL
WORKS OK, NO DTCS SET) (KA/KC)
Diagnostic
GA-Net Bus Configuration
The XM receiver passes the signals to the audio-navigation unit via the
GA-Net bus. Any open connections or short in the wiring in the GA-Net bus
circuit will cause audio
(including the audio accessories) functions to appear inoperative.
Self-Diagnostic Function
The audio